ПТ 33-2 приставки для деревянных опор пасынки

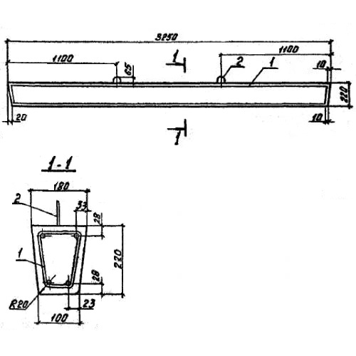
Чертеж изделия:
Характеристики изделия:
ПараметрЗначение
длина3250 мм
ширина180 мм
высота220 мм
масса250 кг
нормативный документГОСТ 14295-75

ГОСТ 14295-75

Железобетонные приставки (пасынки) используют в теплоэнергетической сфере при строительстве электроопор, как деревянных, так и железобетонных. Данные изделия используют для закрепления опор электропередач с напряжением  0,4; 6-10; 20 и 35кВт.  Могут быть также использованы при обустройстве телефонных или телеграфных линий, а также при обустройстве радиофикационных сетей, спутниковых линий.

Марки приставок обозначаются буквами ПТ (приставка трапецеидальная) и двумя числами (через тире),  из которых первое означает величину нормируемого расчетного изгибающего момента в направлении, перпендикулярном к оси линии связи и электропередачи (в тонно-метрах) на уровне заделки приставки в грунт, а второе – длину приставки в метрах.