К 1

Чертеж изделия:
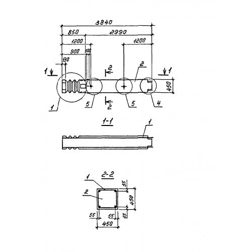
Характеристики изделия:
ПараметрЗначение
длина3840 мм
ширина450 мм
высота450 мм
масса1900 кг
нормативный документГОСТ 27108-86

К 1  Колонны ГОСТ 27108-86.