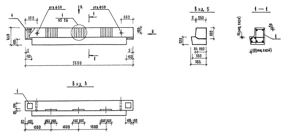
РЛП 4.57 ригели

Чертеж изделия:
Характеристики изделия:
ПараметрЗначение
длина5660 мм
ширина382 мм
высота450 мм
масса1930 кг
нормативный документСерия 1.020-1/83

РЛП 4.57  Ригели однополочные, устанавливаемые в лестничных клетках для опирания многопустотных плит и лестнечных маршей; Серия 1.020-1/83.