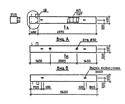
КБ 42

Чертеж изделия:
Характеристики изделия:
ПараметрЗначение
длина5620 мм
ширина400 мм
высота400 мм
масса2200 кг
нормативный документСерия 1.020.1-2с/89

КБ 42  Колонны бесстыковые Серия 1.020.1-2с/89.