1КВО 42.00-3.40.00

Чертеж изделия:
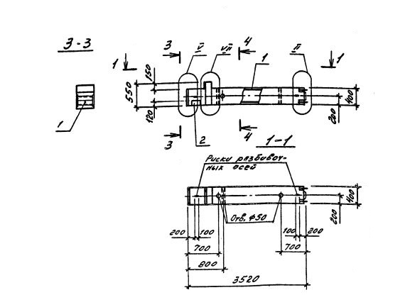
Характеристики изделия:
ПараметрЗначение
длина3520 мм
ширина400 мм
высота550 мм
масса1420 кг
нормативный документСерия 1.020.1-4

1КВО 42.00-3.40.00    Колонны одноконсольные для верхних этажей (Серия 1.020.1-4).