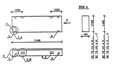
ПС 72.15.4.0 панели стеновые

Чертеж изделия:
Характеристики изделия:
ПараметрЗначение
длина7180 мм
ширина400 мм
высота1485 мм
масса6110 кг
нормативный документСерия 1.030.1-1/88

ПС 72.15.4.0  Панели стеновые Серия 1.030.1-1/88.