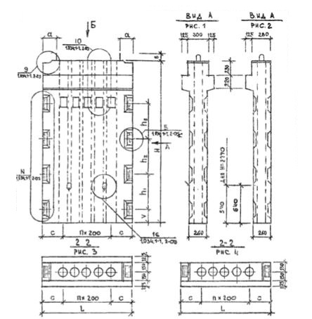
2ВД 30-20

Чертеж изделия:
Характеристики изделия:
ПараметрЗначение
длина2980 мм
ширина550 мм
высота1970 мм
масса3085 кг
нормативный документСерия 1.034.1-1

2ВД 30-20  Вентиляционные блоки-диафрагмы жесткости двухконсольные (Серия 1.034.1-1).