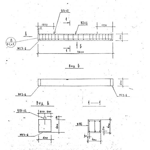
Б 38

Чертеж изделия:
Характеристики изделия:
ПараметрЗначение
длина3800 мм
ширина400 мм
высота400 мм
вес1530 кг
серия1.125 КЛ-3

Б 38 Балки по серии 1.125 КЛ-3.