ЛМ 30.11.15

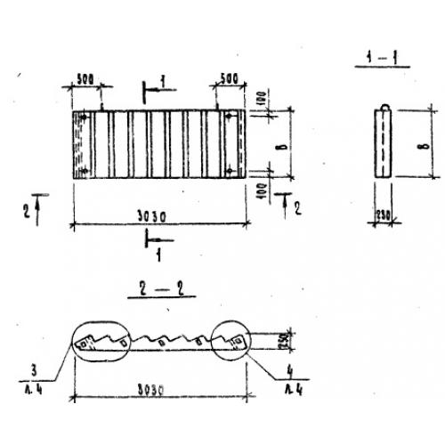
Чертеж изделия:
Характеристики изделия:
ПараметрЗначение
длина3030 мм
ширина1050 мм
высота250 мм
масса1480 кг
нормативный документСерия 1.151.-8с

ЛМ 30.11.15 Лестничные марши без фризовых ступеней Серия 1.151.-8с.