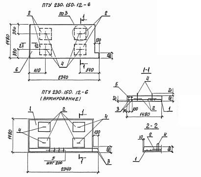
ПТУ 230.150.14 плиты лотков

Чертеж изделия:
Характеристики изделия:
ПараметрЗначение
длина2340 мм
ширина1480 мм
высота140 мм
масса1150 кг
нормативный документСерия 3.006.1-8

ПТУ  230.150.14  Плиты перекрытия каналов угловые Серия 3.006.1-8.