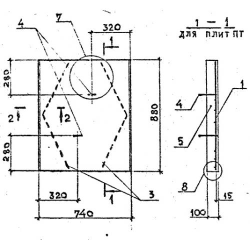
ПТ 75.90.10 плиты лотков

Чертеж изделия:
Характеристики изделия:
ПараметрЗначение
длина740 мм
ширина880 мм
высота100 мм
масса160 кг
нормативный документСерия 3.006.1-8

ПТ 75.90.10  Плиты перекрытий каналов Серия 3.006.1-8.