К 27

Чертеж изделия:
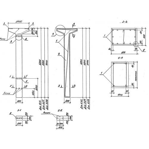
Характеристики изделия:
ПараметрЗначение
длина6800 мм
ширина2400 мм
высота2400 мм
масса4900 кг
нормативный документСерия 3.015-16.94

К 27  Колонны бетонные Серия 3.015-16.94.