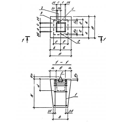
ФВ 9.9

Чертеж изделия:
Характеристики изделия:
ПараметрЗначение
длина1100 мм
ширина1100 мм
высота1500 мм
масса2600 кг
нормативный документСерия 3.016.1-9

ФВ 9.9  Фундаменты  Серия 3.016.1-9.