К колонна

Чертеж изделия:
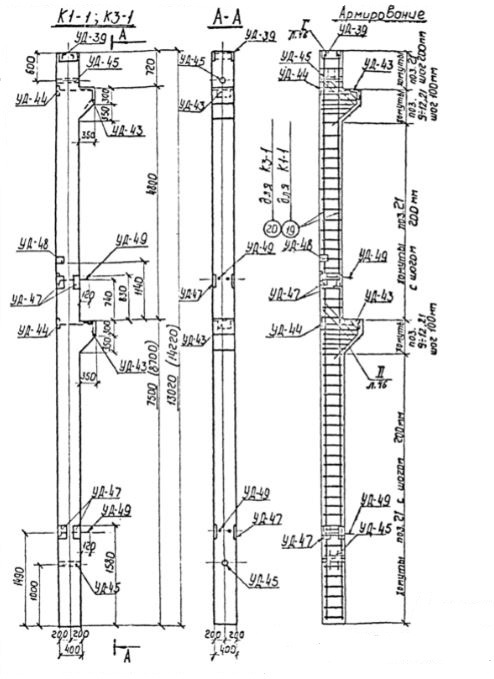
Характеристики изделия:
ПараметрЗначение
длина13020 мм
ширина400 мм
высота400 мм
масса6800 кг
нормативный документСерия 3.407-102

К  Бетонные армированные колонны Серия 3.407-102.