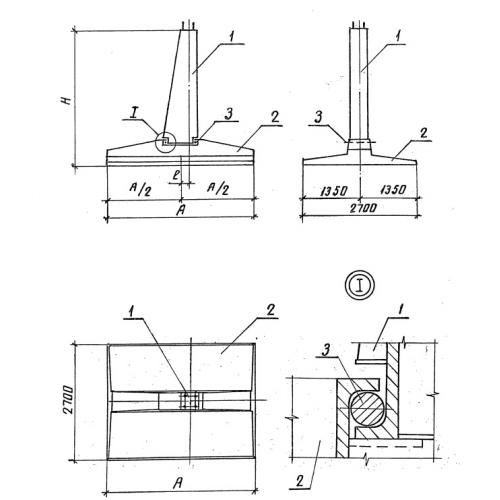
Ф 2.7-3.5 Фундамент составной

Чертеж изделия:
Характеристики изделия:
ПараметрЗначение
длина3500 мм
ширина2700 мм
высота3200 мм
масса5020 кг
нормативный документСерия 3.407.1-144

Ф 2.7-3.5  Фундаменты под промежуточные опоры по Серии 3.407.1-144.