ПС 20.78.12

Чертеж изделия:
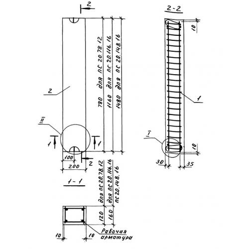
Характеристики изделия:
ПараметрЗначение
длина780 мм
ширина780 мм
высота120 мм
вес47 кг
шифрВ 019

ПС 20.78.12 Плиты сплошные по Шифру В 019.